Картридж фильтра
(Код товара: 147-13-351)
| Менеджер: | Владислав Викторович Боровик |
| Многоканальный тел./факс: | |
| Харьков: | (доб. 147) |
| Киевстар: | (доб. 147) |
| МТС: | (доб. 147) |
| Лайф: | (доб. 147) |
| E-mail: | |
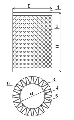
Описание

1)Прижим
2)Лист перфорированный
3)Волокно
4)Лист перфорированный
5)Сетка
6)Фильтрующее волокно армированное металической сеткой
Диаметры картриджей, (мм)
|
№ |
Ду |
D |
d |
H |
|
1 |
50 |
110 |
60 |
220 |
|
2 |
80 |
145 |
85 |
380 |
|
3 |
100 |
190 |
130 |
420 |
|
4 |
150 |
250 |
165 |
680 |
|
5 |
200 |
300 |
240 |
380 |
|
6 |
300 |
410 |
290 |
400 |
Увеличить изображение