Регулятор давления газа GS-76-100 (Class ANSI 150-300-600)
(Код товара: 147-13-326)
| Менеджер: | Владислав Викторович Боровик |
| Многоканальный тел./факс: | |
| Харьков: | (доб. 147) |
| Киевстар: | (доб. 147) |
| МТС: | (доб. 147) |
| Лайф: | (доб. 147) |
| E-mail: | |
Регуляторы давления газа серии GS-76-100 (далее регуляторы) применяются главным образом в тех случаях, когда требуется высокое качество регулирования при разных расходах газа, как это необходимо на передаточных станциях, в городских сетях, при снабжении промысла и промышленности. Исполнительный орган настраивается отдельным регулятором. Необходимую для перестановки энергию можно отбирать непосредственно из регулируемого потока газа или она может подаваться в виде вспомогательной энергии (в виде сжатого воздуха). Для обеспечения высокого качества регулирования и низкого усилия управления исполнительное звено выполнено так, чтобы меняющиеся давление на входе не влияло на регулирование.
Технические характеристики
| Регулятор давления газа GS-76-100 | ||
| Наименование параметров | Ед. изм |
Величина параметров |
| Давление на входе | МПа | 0,1-10 |
| Давление на входе | 0,01-9 | |
| Минимальный перепад давления | кПа | 30-150 |
| Стандартные ступени давления | ANSI | 150, 300, 600 |
| Пропускная способность | м3/ч | от 2000 до 150000 |
| Диапазон температуры рабочей среды | °С | от -30 до +60 |
| Диапазон температуры окружающей среды | от -40 до +60 | |
| Условный проход | Ду | 25, 50, 80 |
| Габаритные размеры, мм | Ду 25 | Ду 50 | Ду 80 |
| Длина | 170 | 260 | 320 |
| Диаметр | 310 | 365 | 415 |
| Высота | 450 | 490 | 560 |
| Масса кг, не боле | 50 | 80 | 110 |

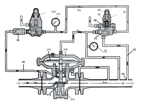
1-Точка измерения, 2-Измерительная линия, 3-Регулятор, 4-Измерительная мембрана, 5-Пружина заданного значения, 6-Винт под регулировки заданного значения, 7-Исполнительное звено, 8-Измерительная линия, 9-Фильтр, 10-Предварительная ступень, 11-Манометр, 12-Исполнительный привод,13-Исполнительный орган, 14-Запирающая пружина, 15-Исполнительное звено, 16-Игольчатый клапан.
Увеличить изображение