Регулятор давления газа GS-84-22 (6, 10 m3/h)
(Код товара: 147-13-329)
| Менеджер: | Владислав Викторович Боровик |
| Многоканальный тел./факс: | |
| Харьков: | (доб. 147) |
| Киевстар: | (доб. 147) |
| МТС: | (доб. 147) |
| Лайф: | (доб. 147) |
| E-mail: | |
Регуляторы давления газа серии GS-84-22 (6, 10 м3/ч) (далее регуляторы) предназначены для снижения давления газа и автоматического поддерживания заданного давления на выходе на постоянном уровне при изменении входного давления и расхода газа, автоматического отключения подачи газа при аварийном повышении или понижении выходного давления за пределы допустимых заданных значений в системах газоснабжения бытовых и промышленных потребителей. Регуляторы могут использоваться для всех неагрессивных видов газа. Благодаря пружинной нагрузке регуляторы работают независимо от монтажного положения. Соединения корпуса исполнительного звена с регулирующим устройством и устройством ПЗК обеспечивают их замену и замену клапанов, не снимая корпус исполнительного звена из объекта регулирования.
Технические характеристики
| Регулятор давления газа GS-84-22 (6, 10 м3/ч) | ||
| Наименование параметров | Ед. изм |
Величина параметров |
| Рабочая среда | - | Природный газ, все неагрессивные газы |
| Давление на входе | МПа | 0,035-0,6 |
| Диапазон выходного давления ном. | кПа | 1-3 |
| Максимальная пропускная способность | м3/ч | 6, 10 |
| Диапазон температуры рабочей среды | °С | от -30 до +60 |
| Диапазон температуры окружающей среды | от -40 до +60 | |
| Тип соединения: Резьба внутренняя | Ду | вход 20 выход 25 |
| Масса | кг | 1,5 |

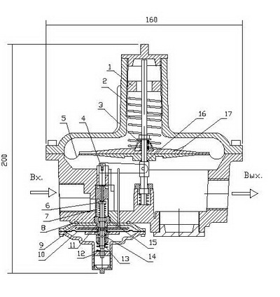
1.Регулирующая гайка; 2.Пружина настроечная; 3.Пружина ПСК; 4.Рычаг клапана; 5.Мембрана; 6.Клапан ПЗК; 7.Сопло; 8.Манжета; 9.Прокладка; 10.Мембрана ПЗК; 11.Сальник штока ПЗК; 12.Гайка ПЗК; 13.Пружина ПЗК; 14.Стопорные шарики; 15.Сальник; 16.Сальник ПСК; 17.Тарелка мембраны.
Увеличить изображение